1.5万元起步!复刻“阔折叠”?苹果折叠屏已进入试产阶段

电子发烧友网 2026-04-08 07:00
电子发烧友网报道(文/梁浩斌)今年不再跳票!近日产业链消息称,富士康已在试产苹果内部代号为“Project Nova”的折叠屏iPhone手机,结合此前流出DVT(设计验证阶段)版的折叠屏iPhone谍照,这意味着4月折叠屏iPhone可能已经进入到PVT(生产验证阶段)。
 
而在2025年,苹果已经向供应商下达2026年下半年的出货目标指引,预计该款手机将会在今年9月苹果秋季发布会上与iPhone 18系列同步发布。
 
复刻“阔折叠”,售价或高于2000美元
根据已经曝光的信息,目前业界普遍认为折叠屏iPhone 会被命名为iPhone Fold。从形态来看,iPhone Fold为横向内折设计,展开后的尺寸接近iPad mini,由于展开后的比例接近4比3,在合上时外屏比例与目前主流的大折叠会有所区别。
 
iPhone Fold外屏约5.3–5.5英寸,比例可能与此前OPPO Find N2或华为Pura X较为接近,与目前主流的折叠屏追求外屏比例接近直板手机不同,更加偏向“阔折叠”。
 
值得一提的是,近日在三星系统代码中也曝光了其新一代 Galaxy Z Fold8 Wide阔折叠手机的演示动画,内屏比例为4:3,预计也将于今年推出以对抗iPhone Fold。而据博主“数码闲聊站”的爆料,除了苹果和三星,接下来今年还会有两家国内手机厂商推出“阔折叠”产品。
 
折痕问题一直是折叠屏最受关注的痛点之一,在折叠屏展开后,由于铰链的平整度不高,以及OLED面板与铰链贴合不足等问题,会在视觉上和触感上造成一定影响。苹果一直以来都是遵循推出成熟产品的原则,因此解决折叠屏折痕平整度会是iPhone Fold的一大亮点。
 
在3月份推出的OPPO Find N6同样以彻底解决折叠屏折痕问题而著称,在后续的反馈中,尽管Find N6相比以往的所有折叠屏产品折痕都更轻微,但仍存在触感不平整的问题。那么这个问题苹果能否解决呢?
 
此前有报道称:“苹果延迟入局折叠市场多年,主要原因之一就是不愿推出有明显折痕的产品。苹果的目标是‘无论成本如何,都要消除或最小化折痕’,以实现真正高端、无妥协的体验。”
 
但供应链最新的爆料显示,iPhone Fold折叠处的厚度小于0.15毫米,而折叠角度则低于2.5度。因此,iPhone Fold不能算得上真正意义上的“无折痕”折叠屏手机,只能说“近乎无折痕”,实际效果可能与OPPO Find N6类似。
1.5万元起步!复刻“阔折叠”?苹果折叠屏已进入试产阶段图1
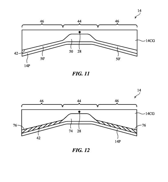
图源:专利号US12041738B2
苹果在2021年申请了一项耐用折叠显示屏专利,针对折痕和凹槽设计,核心折痕优化图显示盖板沿弯折轴有局部凹槽/减薄区。上图展示凹槽边缘圆滑过渡、填充聚合物或空气,防止应力集中和折痕,以及多层玻璃叠压结构,强调通过凹槽结构的改进来实现平整折叠。
 
另外,苹果在2023年申请的自修复柔性显示盖板专利也有可能被应用到iPhone Fold上,即在盖板顶部或仅在柔性区添加一层自修复聚合物,无需外部干预,材料自身流动性可填充凹坑或划痕,恢复原状;或通过外部刺激(如热、光、电流)快速完成修复。
 
厚度上,有了iPhone Air上的经验,iPhone Fold同样实现了目前折叠屏领域的第一梯度水准。预计iPhone Fold展开后厚度约4.5–4.8mm,合上约9.5–9.6mm,并采用钛合金中框,液态金属铰链,机身轻薄,重量预计在250g左右。
 
背面相机模组则类似iPhone Air风格,但配备了双摄;电源键集成Touch ID,由于厚度限制放弃了Face ID。
 
iPhone Fold处理器将采用A20 Pro芯片基于台积电2nm工艺,性能和能效领先;搭配苹果自研第二代C2基带;内存据称将标配12GB RAM,存储容量256GB起步,最高1TB。值得一提的是,在iPhone Fold上苹果终于有望用上硅碳负极电池,据供应链信息,iPhone Fold将搭载两块硅碳负极电池,电芯采用3D叠片技术,容量为5000mAh或以上,由宁德新能源独家供应。
 
硅碳负极是将纳米硅颗粒与碳材料(石墨、多孔碳等)复合而成的锂离子电池负极材料。它是当前最接近量产的下一代负极技术,实际硅碳负极比容量可达450–700mAh/g,而传统石墨负极实际约340–370mAh/g。在电池实际应用中,整体能量密度能够提升20%–50%。目前硅碳负极电池已在荣耀Magic系列、OPPO、小米等品牌的部分高端机型中应用。
 
作为苹果第一款折叠屏产品,iPhone Fold预计起售价将超过2000美元,国行预计为1.4-1.5万元,顶配将突破2万元,成为iPhone史上最贵机型。
 
复刻Airpods的成功,还是下一个Vison Pro?
回顾iPhone Fold的“先行”产品iPhone Air,这是用续航、影像能力、阉割的处理器性能等来换取轻薄,导致了市场上的“相对失败”。从配置上看,iPhone Fold具备比iPhone Pro Max更大的电池,更大的屏幕,影像方面也引入了双摄,相比iPhone Air更好,但更高的售价可能同样限制了其销量。
 
那么iPhoneFold面向的消费群体就是iPhone Air类似的用户,喜欢尝鲜、预算高、苹果生态捆绑的用户,或者是此前一直使用其他品牌折叠屏的用户。那么这样的用户群体也注定了iPhone Fold是一款用高价格来换取市场利润份额的产品,而不是以量取胜。
 
作为Vison Pro以来,苹果首次踏入的一个新赛道,iPhone Fold从产品创新上看尽管没有太多硬件上的颠覆,但相信依靠苹果在软件生态上的掌控能力,以及iPhone本身所具备的市场影响力,iPhone Fold有望会带动整个折叠屏行业进入新的时代。
 
而相关供应链,也有望受益于iPhone Fold带动的折叠屏品类市场规模扩大。根据目前公开信息,iPhoneFold的折叠屏供应链厂商主要包括:
 
显示屏与盖板:三星显示独家供应柔性OLED面板,已为苹果定制“近乎无折痕”方案,包括激光钻孔金属支撑板等技术。预计2026年供货约700–2000万片,产能已提前布局,这是三星在折叠屏领域的最大外部订单。蓝思科技是iPhone FoldUTG超薄柔性玻璃核心供应商,同时参与3D玻璃后盖、铰链中轴等。苹果对UTG的高要求将提升其单机ASP和订单份额。
 
铰链与精密结构件:新日兴是关键轴承受益者,与富士康合作承担大部分铰链单元生产;宜安科技在液态金属铰链主轴/中轴技术领先,已为多机型供货,预计在苹果折叠机中占据重要份额;精研科技金属注射成型精密结构件主力供应商,铰链零部件受益明显;安费诺(Amphenol)与奇鋐科技(AVC)据称是iPhone Fold铰链供应商,各占约50%份额;
 
小结:
iPhone Fold是苹果对于iPhone 的一次“形态创新,更是苹果对折叠生态的全面布局。尽管折叠屏产业链近几年在三星、华为、OPPO、vivo等厂商的推动下已经逐渐趋于一个成熟形态,但苹果的加入,毫无疑问将带动产业链从量到质的升级,相关产业链也将加速技术迭代,让折叠屏手机真正实现“从尝鲜到常用”。

1.5万元起步!复刻“阔折叠”?苹果折叠屏已进入试产阶段图2

声明:内容取材于网络,仅代表作者观点,如有内容违规问题,请联系处理。 
苹果
more
苹果AI放弃和ChatGPT独家合作/微信官方解读「正在输入」背后原理/小米汽车遭「老头乐」公司起诉
8点1氪:白宫回应特朗普病重住院;郭艾伦疑遭熟人诈骗近千万元;苹果首款折叠屏手机已在试产
Claude Code更新后「翻车」,思考深度骤降67%;MacBook Neo热销,苹果A18芯片库存告急;离职员工「被做成 AI 数字人」引热议|极客早知道
闲鱼“鱼小铺”升级并调整优惠规则;警方提醒苹果用户警惕iMessage贷款代办诈骗;特斯拉严打FSD“越狱”用户将承担事故全责...
内存涨价全面突破安卓阵营,曝苹果要出奇招
华为推出鸿蒙版龙虾/小米YU7 GT实车曝光/苹果拟引入长江存储
曝苹果首款折叠屏手机已在试产
突发!苹果国行 AI 偷跑上线,连夜实测后我们发现了这些细节
苹果成了Vibe Coding创业者们最大的敌人
全球 AI 公司烧了几千亿,最后都得抢着给苹果「打工」
Copyright © 2025 成都区角科技有限公司
蜀ICP备2025143415号-1
  
川公网安备51015602001305号