分体式+倾转翼DEP+尾座思想=Joby无人机构型

eVTOL 2025-10-22 11:40
不久之前根据非公开的信息Joby完成了氢动力无人机超长续航飞行能力验证不知道大家对此还是否有印象,但根据当时的图片信息,并无法确定Joby关于无人驾驶版本的构型是如何考虑的,是一款VTOL,还是一款CTOL呢。


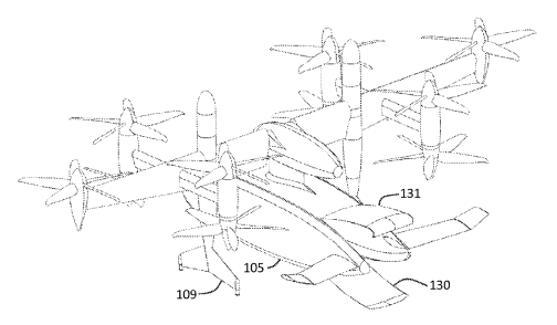
不过最近根据Joby最新公开的一个构型专利,其大概的技术思路采用了分体式布局和倾转翼DEP结合尾座构型的结果,动力部分会采用氢动力或者是涡轮混合动力,在飞行推力单元可以明显的看到燃料储存舱。

分体式+倾转翼DEP+尾座思想=Joby无人机构型图1
分体式+倾转翼DEP+尾座思想=Joby无人机构型图2
分体式+倾转翼DEP+尾座思想=Joby无人机构型图3
这显然是一款为防务市场开发的构型产品,分体构型可以大大提高任务能力的机动性,大概猜测基本的构型不会有大的变化,但是关于DEP的方案有多个选择,包括:4共轴推力+2个翼尖推力、6个推力单元、4共轴推力单元;无论哪种配置都采用了其开发成熟的5叶桨DPU,也都配置了双垂尾的设计和一个水平尾翼的布局。

分体式+倾转翼DEP+尾座思想=Joby无人机构型图4
关于用途可以明显看出来,有为运输无人化装备而设计的舱体。当然最终的产品如何还是要等待Joby的决策,以上仅供参考。

参考资料:2025垂直起降飞机构型Joby,https://wvul7.xetslk.com/s/Wbksv。



声明:内容取材于网络,仅代表作者观点,如有内容违规问题,请联系处理。 
无人机
more
一图看懂 | 2026极目新款无人机
5000万欧元量子通信合同加速航天安全布局;1.2吨无人机空投提升应急物流能力——航空领域智能化规模化进程全面提速
AS5600:12位可编程的磁式转动位置传感器,可用在无人机云台上
沈阳无距科技"朱雀无人机集群系统"亮相国际消防展,展现消防无人机实战化新高度
科比特以2000架无人机灯光秀点亮低空经济论坛,引领无人机蜂群创新新时代
陕西省首家以交通场景为核心驱动的省级低空经济运营实体成立,同步发布的三款平台和两款无人机
品牌快讯 | CUAV 精彩亮相2025第二届上海无人机系统技术展览会
SkyStrike | FPV 无人机战术演练训练系统:锻造飞行尖兵
共聚印度尼西亚,探索无人机动力创新前沿
低空经济,江湖争霸:中国民用无人机界的11位掌门传奇
Copyright © 2025 成都区角科技有限公司
蜀ICP备2025143415号-1
  
川公网安备51015602001305号