关于JTAG口,你了解多少?

FPGA技术江湖 2026-01-26 08:52

欢迎大侠来到FPGA技术江湖新栏目今日说“法”,当然,在这里我们肯定不是去研究讨论法律法规知识,那我们讨论什么呢,在这里我们讨论的是产品研发以及技术学习时一些小细节小方法等,欢迎大家一起学习交流,有好的灵感以及文章随笔,欢迎投稿,投稿请标明笔名以及相关文章,投稿接收邮箱:1033788863@qq.com。今天带来的是“是谁动了我的JTAG口?”,话不多说,上货。

在FPGA研发及学习过程中,有一个关键步骤就是下板实现,做硬件“硬现”很重要,一般来说用JTAG口比较常见一些,因此相信肯定有些大侠遇到过JTAG口失灵或者损坏无法使用的事情。最近我就遇到了这类事情,FPGA的JTAG口突然就不能下载程序了,而且这种事情已经不是第一次了,之前在做项目的时候也出现过,而且出现的形式也极其相似,之前还用的好好的,第二天就不行了,真是让人郁闷。为此,本人也是去尝试了很多解决办法,一开始也没有去设想是JTAG口坏了,于是乎,本人换了usb-blaster,可一点反应也没有。难道真的是JTAG口坏了?于是,本人就去查阅相关资料去搞清楚问题的本质在哪里,下面就是本人的一些收获,分享出来,仅供各位大侠参考,一起交流学习。

关于JTAG口,你了解多少?图2

根据查阅资料及本人的一些实践经验所得,在使用JTAG下载接口的过程中,请不要随意带电插拔,否则会损坏FPGA芯片的JTAG口信号管脚。那么如何去确认JTAG口已经损坏了呢。首先你要去排除基本的几项因素,一是,是否匹配连接,有很多设备会对应很多接口,在实际条件下要匹配正确,否则也会出现上述情况;二是,排除下载线的问题,如果是下载线坏了,可以使用多根下载线去尝试,排除这类问题。如果还是不能访问FPGA的JTAG口,那么很有可能你的FPGA芯片的JTAG口已经损坏。此时请用万用表检查TCK,TMS,TDO和Tdi是否和GND短路,如果任何一个信号对地短路则表示JTAG信号管脚已经损坏。

至于JTAG口是什么,这里我们也来探讨一下,JTAG英文全称是 Joint Test Action Group,翻译过来中文就是联合测试工作组。

JTAG是一种IEEE标准用来解决板级问题,诞生于20世纪80年代。今天JTAG被用来烧录、debug、探查端口。当然,最原始的使用是边界测试。

1、边界测试

举个例子,你有两个芯片,这两个芯片之间连接了很多很多的线,怎么确保这些线之间的连接是OK的呢,用JTAG,它可以控制所有IC的引脚。这叫做芯片边界测试。

关于JTAG口,你了解多少?图3

2、JTAG引脚

JTAG发展到现在已经有脚了,通常四个脚:TDI,TDO,TMS,TCK,当然还有个复位脚TRST。对于芯片上的JTAG的脚实际上是专用的。

  • TDI:测试数据输入,数据通过TDI输入JTAG口;
  • TDO:测试数据输出,数据通过TDO从JTAG口输出;
  • TMS:测试模式选择,用来设置JTAG口处于某种特定的测试模式;
  • TCK:测试时钟输入;
  • TRST:测试复位。
关于JTAG口,你了解多少?图4

CPU和FPGA制造商允许JTAG用来端口debug;FPGA厂商允许通过JTAG配置FPGA,使用JTAG信号通入FPGA核。

3、JTAG如何工作

PC控制JTAG:用JTAG电缆连接PC的打印端口或者USB或者网口。最简单的是连接打印端口。

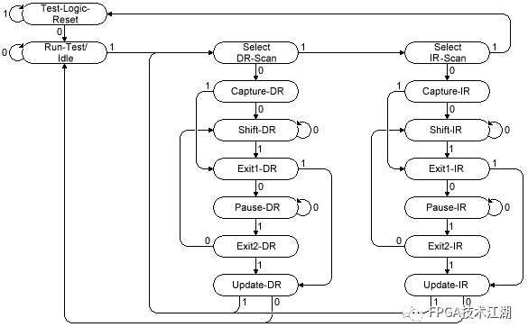
TMS:在每个含有JTAG的芯片内部,会有个JTAG TAP控制器。TAP控制器是一个有16个状态的状态机,而TMS就是这玩意的控制信号。当TMS把各个芯片都连接在一起的时候,所有的芯片的TAP状态跳转是一致的。下面是TAP控制器的示意图:

关于JTAG口,你了解多少?图5

改变TMS的值,状态就会发生跳转。如果保持5个周期的高电平,就会跳回test-logic-rest,通常用来同步TAP控制器;通常使用两个最重要的状态是Shift-DR和Shift-IR,两者连接TDI和TDO使用。

IR:命令寄存器,你可以写值到这个寄存器中通知JTAG干某件事。每个TAP只有一个IR寄存器而且长度是一定的。

DR:TAP可以有多个DR寄存器,与IR寄存器相似,每个IR值会选择不同的DR寄存器。(很迷)

4、JTAG链相关疑问

计算JTAG链中的IC数目:

一个重要的应用是IR值是全一值,表示BYPASS命令,在BYPASS模式中,TAP控制器中的DR寄存器总是单bit的,从输入TDI到输出TDO,通常一个周期,啥也不干。

可用BYPASS模式计算IC数目。如果每个IC的TDI-TDO链的延迟是一个时钟,我们可以发送一些数据并检测它延迟了多久,那么久可以推算出JTAG链中的IC数目。

得到JTAG链中的器件ID:

大多数的JTAG IC都支持IDCODE命令。在IDCODE命令中,DR寄存器会装载一个32bit的代表器件ID的值。不同于BYPASS指令,在IDCODE模式下IR的值没有标准。不过每次TAP控制器跳转到Test-Logic-Reset态,它会进入IDCODE模式,并装载IDCODE到DR。

5、边界扫描:

关于JTAG口,你了解多少?图6

TAP控制器进入边界扫描模式时,DR链可以遍历每个IO块或者读或拦截每个引脚。在FPGA上使用JTAG,你可以知晓每个引脚的状态当FPGA在运行的时候。可以使用JTAG命令SAMPLE,当然不同IC可能是不同的。

关于JTAG口,你了解多少?图7

这里没有过多的讲解JTAG调试原理,但是但是对于感兴趣的大侠们,可以获取详细文档查看一下,JTAG调试原理详细技术文档。

链接:https://pan.baidu.com/s/1PbBFgWnZgROeIiYhscBuZw

提取码:0u5a

如果JTAG口已经损坏了,那只能“节哀顺变”了,但是也不要只顾着伤心,最重要的是分析其中的原因,做其他事情也是一样的道理。那我们就来分析分析,我们在使用的过程中,可能经常为了方便,随意插拔JTAG下载口,在大多数情况下不会发生问题。但是仍然会有很小的机率发生下面的问题,因为热插拔而产生的JTAG口的静电和浪涌,最终导致FPGA管脚的击穿。至此,也有人怀疑是否是盗版的USB Blaster或者ByteBlasterII设计简化,去除了保护电路导致的。但经过很多实际情况的反馈,事实证明原装的USB Blaster 也会发生同样的问题。也有人提出质疑是否是ALTERA的低端芯片为了降低成本,FPGA的IO单元没有加二极管钳位保护电路。这类质疑其实都不是解决问题的本质,最重要的是我们要规范操作,尽可能的去减少因为实际操作不当导致一些硬件设备、接口等提前结束寿命或“英年早逝”,那重点来了,关于JTAG下载口的使用,我们需要如何去规范操作呢。

上电时的操作流程顺序:

  • 1.在FPGA开发板及相关设备断电的前提下,插上JTAG下载线接口;
  • 2.插上USB Blaster或者ByteBlasterII的电缆;
  • 3.接通FPGA开发板的电源。

下电时的操作流程顺序:

  • 1.断开FPGA开发板及相关设备的电源;
  • 2.断开USB Blaster或者ByteBlasterII的电缆;
  • 3.拔下JTAG下载线接口,并放置适宜地方存储。

虽然上述的操作步骤有点繁琐,有时我们在使用的时候也是不以为然,但是为了保证芯片不被损坏,建议大家还是中规中矩的按照上述的步骤来操作。本人上述出现的问题,经过检测后就是TCK跟GND短路了,虽然发生的概率不是很大,但是为了能够更合理更长久的的使用硬件相关设备,还是建议大家在实操过程中,不要担心繁琐,中规中矩操作,换个角度思考,“多磨多练”也是对自己有好处的。最后,还是给各位唠叨一句,关于JTAG下载口的使用最好不要带电热插拔,起码可以让JTAG口“活”的久一些,毕竟长情陪伴也是挺不错的,不要等到失去了才知道惋惜。

声明:内容取材于网络,仅代表作者观点,如有内容违规问题,请联系处理。 
more
海信E8S旗舰电视发布,以RGB-Mini LED技术重塑高端显示格局
2025年中国Mini/Micro LED产业全景图:千亿投资驱动,黄金时代全面开启
面板大厂抢滩MLED!4.9亿“白菜价”收购福建兆元80%股权+债权
最高增长433%,9家LED显示相关企业发布业绩预告
泰矽微发布TClux系列车规多通道LED驱动芯片
最高增135%,又一LED显示屏企发布业绩预告
Omdia:在区域多元化推动下,2025年第三季度, 全球LED视频显示屏出货量同比增长8.3%
兆驰股份前瞻布局Micro LED光互连技术
MLED情报站:事关联建光电、长春富维、诺瓦星云等
RGB Mini LED、AI和「火箭炮」:东芝电视在CES2026换了一种解法
Copyright © 2025 成都区角科技有限公司
蜀ICP备2025143415号-1
  
川公网安备51015602001305号