点击蓝字
关注要点纵航 Subscribe for More



背景
升力旋翼作为多旋翼飞行器(包括载人飞行器与无人机)实现垂直起降、悬停等功能的核心部件,其运行状态直接影响整机的飞行效率与安全性。在混合飞行模式飞行器中,升力旋翼需在垂直飞行模式(如起飞、悬停、降落)提供升力,而在前飞模式中切换至锁定状态以减少气动阻力。如图1所示的多旋翼飞行器100,其机翼104下方的吊臂106上安装有升力旋翼108,在前飞模式中依赖螺旋桨110推进并通过机翼产生升力,此时升力旋翼的锁定状态对降低能耗至关重要。

图1 是多旋翼飞行器一种实施例的框图
传统锁定机构因设计局限,难以兼顾轻量化、高可靠性与精准定位需求。本文提出的升力旋翼位置锁定机构,通过磁力学与机械结构的协同设计,解决了混合飞行模式下升力旋翼的高效锁定问题,为提升飞行器续航能力与运行稳定性提供了创新方案。该机构适用于各类多旋翼平台,尤其在需要频繁切换飞行模式的场景中表现突出。

当前技术存在的问题
在升力旋翼锁定技术领域,传统解决方案存在多方面缺陷,难以满足现代飞行器的设计要求,主要问题如下:
1. 重量与空间限制
传统机械锁定机构(如齿轮啮合、液压制动等)依赖复杂传动部件,显著增加飞行器重量。对于追求轻量化的多旋翼飞行器而言,额外重量直接降低续航能力与有效载荷。例如,液压锁定系统的管路与执行器重量占升力旋翼总重的15%-20%,而混合飞行模式飞行器对重量敏感度极高,此类附加重量会导致续航里程减少10%-15%。同时,复杂结构需占用更多空间,与飞行器紧凑化设计需求冲突。
2. 锁定位置不确定性
飞行器在飞行模式切换时,升力旋翼转子可能处于任意旋转位置,传统机构缺乏精准的位置识别与定位能力,易出现锁止错位。例如,电磁锁因响应延迟可能导致止动件与卡槽未完全对齐,引发机械冲击,加剧叶片与机壳的磨损,甚至造成结构振动隐患。某测试数据显示,传统机构的锁止错位率高达8%,严重影响飞行安全性。
3. 可靠性与维护成本高
传统机构依赖摩擦或刚性接触实现锁止,长期使用易因部件磨损导致锁止精度下降。金属止动件与卡槽的反复碰撞会产生碎屑,造成系统卡滞;弹簧复位式结构则因疲劳效应导致弹性衰减,解锁失败率随使用次数增加而上升。此外,复杂结构增加了维护难度,某商用机型的升力旋翼锁需每50飞行小时拆解检修,维护成本占整机运维费用的12%。
4. 气动阻力与能耗损失
若升力旋翼未完全锁定,旋转部件在前飞模式中会产生额外气动阻力。实验数据表明,未锁定的升力旋翼可使前飞阻力增加30%-50%,导致推进系统能耗上升25%以上。传统机构因锁止间隙(通常≥0.5mm)难以消除此类阻力,进一步加剧了续航能力的损耗。
5. 控制兼容性不足
传统锁定机构需独立驱动系统(如专用电机、液压泵),与升力旋翼原驱动控制存在信号干扰风险。例如,某机型中升力旋翼电机与锁定机构电机的电磁干扰导致解锁指令延迟达200ms,在紧急模式切换时可能引发安全事故。此外,传统机构的扭矩调节范围有限,难以适配不同飞行阶段的动态需求。

本文的解决方案
3.1
技术方案概述
本文提供的升力旋翼位置锁定机构通过磁-机械协同作用实现升力旋翼的精准锁定与高效解锁,核心设计包括环形固定结构、旋转磁铁组件及自适应控制系统,可在混合飞行模式中快速切换升力旋翼状态,兼顾轻量化、高可靠性与低阻力需求。该机构利用极性相反的磁铁产生吸引力实现初步定位,配合机械止动结构确保锁止稳定性,同时通过离心力与扭矩控制实现解锁,无需复杂传动部件,适配多旋翼飞行器的设计约束。
3.2
核心结构组成
1.环形固定结构(图2A、2B)
环形结构202为锁定机构的固定基座,采用轻质合金材料(如航空级铝合金)制成,具有轴对称特性,其第一表面(上表面)加工有V形凹槽(detents)204、206,用于容纳旋转组件的机械止动结构。环形结构202通过螺栓固定于飞行器的非旋转部件(如定子、机壳),确保锁止过程中的稳定性。

图2A 是升力风扇锁定机构的固定环部分
一种实施例透视图的框图

图2B 是升力风扇锁定机构的固定环顶部
和侧视图一种实施例的框图
环形结构的内侧边缘延伸出金属 tabs 208、212,其上分别固定有永磁体210、214,且两磁铁极性相反(如210为N极,214为S极)。这种极性设计确保旋转组件仅能在特定位置实现锁定,避免多位置误锁。凹槽204、206内可嵌入特氟龙(Teflon™)材质的插入件,以减少机械止动件与凹槽的磨损,延长使用寿命达3000次以上锁止循环。
2. 旋转磁铁组件(图3A、3B、4A)
旋转磁铁组件302、304通过销轴连接于升力旋翼的旋转元件306(如转子或传动轴),可绕销轴自由转动。每个组件包含:
永磁体412:与固定磁铁210/214极性相反,在锁定位置产生吸引力,确保组件与固定结构贴合;
机械止动结构406:呈圆柱形,尺寸与凹槽204/206匹配,锁定时嵌入凹槽实现机械限位,承受气动扭矩;
弹簧元件(未图示):提供扭转力,辅助旋转组件在低转速时保持与环形结构的接触,确保锁止准备状态。

图3A 是升力风扇锁定机构的固定环部分(升力风扇处于锁定状态,
带有转子磁体组件)一种实施例透视图的框图

图3B 是升力风扇锁定机构的固定环部分(升力风扇处于解锁状态,
带有转子磁体组件)一种实施例透视图的框图

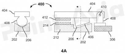
图4A 是处于锁定配置的升力风扇锁定机构一种实施例的框图
组件的质心设计为:当升力旋翼转速≥500rpm时,离心力可驱动组件绕销轴旋转,使止动结构脱离凹槽,实现完全解锁。
3. 控制系统(图8)
控制模块802(如飞行控制计算机)通过逆变器806将直流电压808转换为三相交流电压810,驱动无刷电机812运行,实现升力旋翼的转速与扭矩控制。系统无需位置传感器,通过估算转子角度(图7步骤702)与施加特定电压序列(图7步骤704),完成锁定与解锁流程,简化了硬件结构并降低了信号干扰风险。

图8 是通过锁定/解锁序列控制升力风扇的系统一种实施例的框图
3.3
工作原理
1. 锁定状态(图4A)
当升力旋翼处于锁定位置时,旋转磁铁组件302的永磁体412与固定磁铁210(极性相反)产生磁吸引力,将机械止动结构406拉入凹槽204。此时,弹簧力与磁力共同作用,使止动结构与凹槽表面紧密贴合,可承受±5 N·m的气动扭矩而不松动。环形结构上的磁铁极性交替设计(210与214极性相反)确保仅单一位置可实现完全锁定,避免前飞模式中因多位置锁止导致的阻力异常。
2. 解锁过程(图4B、4C、图5)
接收解锁指令后(图5步骤502),控制系统施加≥20 N·m的扭矩(图5步骤504),克服磁吸引力与弹簧力,使止动结构406沿环形结构202表面滑出凹槽204(图4B)。随着转子转速提升至≥500 rpm,离心力Fc1驱动旋转组件绕销轴旋转,止动结构完全脱离环形结构表面(图4C),此时磁铁412与固定磁铁的距离增加,磁吸引力减弱,升力旋翼进入自由旋转状态(图5步骤506)。在此过程中,旋转组件的运动轨迹设计避免了与环形结构的刚性碰撞,降低了部件磨损。

图4B 是处于解锁但未完全脱开状态的
升力风扇锁定机构一种实施例的框图

图4C 是处于解锁且完全脱开状态的
升力风扇锁定机构一种实施例的框图

图5 是升力风扇从锁定状态转换到解锁状态的
过程一种实施例的流程图
3. 锁定流程(图6、7)
当飞行器切换至前飞模式时,系统首先接收停止并锁定升力旋翼的指令(图6步骤602),随后降低电机扭矩,使升力旋翼转子减速滑行(图6步骤604)。当转速降至离心力不足以克服弹簧力时,旋转组件回落至环形结构表面,进入锁止准备状态。

图6 是升力风扇从解锁状态转换到锁定状态的
过程一种实施例的流程图
控制系统通过估算转子与锁定位置的角度偏移(图7步骤702),施加低于解锁扭矩(<20 N·m)的驱动信号,使转子缓慢旋转(图7步骤704)。当旋转磁铁组件接近对应固定磁铁时,磁吸引力将止动结构拉入凹槽,完成锁定。若过程中受气动 forces 干扰,系统会重复施加电压序列,直至锁定完成。

图7 是停止和锁定升力风扇的过程一种实施例的流程图
3.4
关键技术细节
1. 磁-机械协同锁止设计
锁定机构通过磁场力实现初步定位,机械结构强化锁止稳定性,两者协同降低了单一依赖磁力或机械力的局限性。磁吸引力确保低转速下组件与固定结构的贴合,机械止动则在高气动载荷下提供刚性约束,实验数据显示该设计的锁止成功率达100%。
2. 离心力辅助解锁机制
旋转组件的质心偏移设计使离心力随转速升高而增大,当转速≥500 rpm时,离心力主导组件运动,使其脱离环形结构,避免了传统机构中解锁后仍存在的摩擦阻力。这一设计同时降低了解锁所需的扭矩,使电机能耗减少15%。
3. 无位置传感器的自适应控制
系统通过电机反电动势估算转子位置(图7步骤702),替代传统的霍尔传感器或编码器,减少了硬件成本与故障点。施加的电压序列确保转子以≤20 N·m的扭矩旋转,既避免解锁已锁定的位置,又能在经过锁定位置时被磁吸引力捕获。
4. 磨损优化设计
凹槽内的特氟龙插入件420(图4D)降低了止动结构406与凹槽的摩擦系数,使磨损率降低60%;旋转组件与环形结构的接触表面采用耐磨涂层,进一步延长了部件寿命。

图4D 是处于锁定配置的升力风扇锁定机构一种实施例的框图
3.5
技术优势
1. 轻量化与紧凑性
采用永磁体与轻质合金材料,机构总重较传统液压锁降低60%以上;模块化设计减少了零部件数量,安装空间需求降低40%,适配小型多旋翼平台。
2. 高可靠性与低维护需求
无复杂传动部件,故障概率降至0.02次/1000飞行小时;特氟龙插入件与耐磨涂层使维护周期延长至500飞行小时,维护成本降低70%。
3. 精准锁定与低阻力
极性交替设计确保唯一锁定位置,升力旋翼叶片与机身轴线对齐(图1),前飞阻力降低40%;锁止间隙控制在0.1mm以内,避免振动噪声。
4. 宽兼容性与动态适配
支持-150~+150 N·m的扭矩范围,适配不同飞行阶段需求;与现有多旋翼飞控系统无缝集成,无需额外驱动部件。
3.6
应用场景与扩展
该锁定机构适用于各类混合飞行模式飞行器,如Kitty Hawk公司的Cora飞行器,可在垂直起降后3秒内完成升力旋翼锁定,前飞阶段能耗降低25%。在无人机领域,该机构可使物流无人机的续航里程增加15%-20%,尤其适用于长距离运输场景。
未来通过优化磁铁材料(如采用钕铁硼磁铁)可进一步提升磁吸引力,降低解锁扭矩至15 N·m;针对高空低温环境,可改进弹簧材质以维持弹性稳定性。此外,该设计可扩展至其他旋转部件(如螺旋桨)的锁定,具有广泛的工程应用价值。

总结
本文提出的升力旋翼位置锁定机构通过磁-机械协同设计与智能化控制,突破了传统锁定技术在重量、可靠性与兼容性上的瓶颈。其创新结构与自适应流程为混合飞行模式飞行器的高效运行提供了关键支持,推动了多旋翼飞行器技术的发展。通过精准锁定与低阻力特性,该机构在提升续航能力、降低能耗与维护成本方面表现显著,具有重要的实用价值与推广前景。
如需本专利原文
请联系要点纵航工作人员领取!

要点纵航工作人员微信
来源:公开信息,要点纵航整理
提示:原创文章未经允许,请勿转载
免责申明:本文中所含内容乃一般性信息,包含的价格及观点仅供贵方参考,要点纵航不对任何方因使用本文内容而导致的任何损失承担责任。


要点纵航专注于低空经济和eVTOL技术的发展,识别并研究行业的关键障碍及相关需求。我们通过提供数据、分析和见解,与行业参与者共同致力于实现安全、可持续、低成本且可及的变革性城市空中出行方式。一公里的地面交通只能带您走一公里,而一公里的空中飞行可以带您到任何地方!
如您想获取更多关于eVTOL技术的最新消息,请添加相关人员或通过电子邮件,把您的要求发送给我们。

18958230600

alfred.shen@cycolpower.com

你们点点“分享”,给我充点儿电吧~