点击蓝字
关注要点纵航 Subscribe for More

重要会议:
社群邀请:欢迎加入要点纵航低空飞行器交流群,可添加工作人员微信:18958230600!

背景技术与现存问题
1.1
航空电动化趋势
全球航空产业正处于能源结构转型的关键节点,传统化石燃料动力系统因碳排放强度高、噪声污染显著及能源对外依赖度高等问题,已无法满足碳中和背景下的行业发展要求。电动垂直起降飞行器(eVTOL)作为城市空中交通(UAM)体系的核心运载工具,凭借零排放、低噪声、点对点运输及垂直起降无需跑道等技术特性,成为航空电动化转型的核心突破方向。目前,全球主要航空企业与科技公司均已投入大量资源开展eVTOL技术研发,推动其从概念验证阶段向商业化运营阶段加速迈进。
在eVTOL动力系统的技术路线中,全电推进已成为行业共识。电力动力架构的能量效率、功率响应特性与可靠性,直接决定了飞行器的航程、有效载荷、飞行安全性及商业化可行性。然而,现有单一动力源技术均存在难以克服的固有缺陷,如何在严格的重量与体积约束下,实现长航程、高动态响应与高可靠性的有机统一,已成为制约eVTOL大规模商业化应用的核心技术瓶颈。
1.2
纯电池动力的核心缺陷
纯电池动力系统曾被视为eVTOL的首选动力方案,其结构简单、功率响应迅速且零排放的特性,与eVTOL的运行需求高度契合。但现有锂离子电池的能量密度远低于化石燃料,这一先天缺陷严重限制了纯电池动力eVTOL的实用化进程。根据技术数据,相同体积的锂离子电池所储存的化学能,仅为同等体积航空煤油的1/40左右;即使考虑到电推进系统的能量效率优势,纯电池动力系统的能量密度仍仅为传统燃油动力系统的1/10左右。
对于eVTOL而言,重量与体积是最为严格的设计约束。为满足基本的航程需求,纯电池动力eVTOL不得不搭载大量电池组,导致飞行器空重显著增加。而空重的增加又进一步提升了飞行过程中的能量消耗,形成 “增加电池重量以提升航程,而增加的重量又消耗了更多能量” 的恶性循环。这一矛盾使得纯电池动力eVTOL的最大航程普遍被限制在100公里以内,且有效载荷占比极低,无法满足城市间通勤及商业运营的基本需求。此外,高能量密度电池的功率密度通常较低,难以同时满足eVTOL垂直起降阶段的瞬时高功率需求,进一步加剧了系统设计的难度。
1.3
纯燃料电池动力的核心缺陷
氢燃料电池系统凭借较高的能量密度与零排放特性,为解决纯电池动力的航程问题提供了新的技术路径。质子交换膜燃料电池通过氢气与氧气的电化学反应直接产生电能,其能量转换效率可达50%以上,远高于内燃机的热效率。液态氢的质量能量密度约为120MJ/kg,是现有锂离子电池的30倍以上,理论上可使eVTOL的航程提升至500公里以上。
然而,纯燃料电池动力系统存在一个致命的技术短板:动态响应速度慢。燃料电池的功率输出受限于氢气与氧气的供给速率、电化学反应速率及热管理系统的响应速度,无法在毫秒级时间内实现功率的大幅提升。而eVTOL在垂直起降、姿态机动及紧急避障等工况下,需要在极短时间内输出数倍于巡航功率的峰值功率。例如,在垂直起飞阶段,飞行器的功率需求可达到巡航功率的2-3倍,且功率上升时间要求在100ms以内。燃料电池系统的响应速度无法满足这一需求,会导致动力输出滞后,严重威胁飞行安全。此外,燃料电池系统在低功率运行时效率显著下降,且频繁的功率波动会加速燃料电池堆的老化,缩短其使用寿命并增加维护成本。
1.4
现有混合架构的不足
为兼顾航程与动态响应特性,行业内提出了 “燃料电池+电池” 的混合电力架构,利用燃料电池提供稳态巡航功率,利用电池提供瞬时峰值功率。但现有的混合电力架构普遍存在三方面的核心不足,无法满足航空级别的安全要求。
首先是冗余性不足。现有架构大多采用 “单燃料电池系统+单电池系统” 的组合,缺乏足够的故障冗余设计。一旦燃料电池系统或电池系统发生故障,整个动力系统将瘫痪,导致飞行器失去动力。对于载人eVTOL而言,这种单点故障模式是不可接受的。
其次是配电逻辑复杂。为协调燃料电池与电池之间的功率分配,现有架构需要复杂的中央功率分配器与大量的电力电子设备,增加了系统的复杂度与故障率。同时,中央功率分配器本身也成为了新的单点故障点,进一步降低了系统的可靠性。
最后是系统重量与可靠性的矛盾。为提升系统可靠性,不得不增加冗余部件,但冗余部件的增加又会导致系统重量显著上升,抵消了混合动力系统在能量密度方面的优势。如何在保证系统可靠性的前提下,简化配电逻辑、降低系统重量,成为现有混合电力架构亟待解决的关键问题。

方案核心概述
2.1
核心创新点
针对现有技术的不足,本方案提出了一种双独立冗余的 “燃料电池+电池” 混合电力架构,其核心创新点在于将整个电力系统划分为两个完全独立且相互冗余的子系统。每个子系统均包含一套燃料电池系统与一套电池系统,分别为两组独立的用电设备供电。这种架构彻底打破了传统混合架构的单点故障模式,即使其中一个子系统完全失效,另一个子系统仍能独立为所有必要的用电设备供电,确保飞行器能够安全迫降。
在此基础上,本方案进一步采用了交叉冗余的配电设计。每个燃料电池系统不仅可以为自身子系统的电池充电,还可以为另一个子系统的电池充电;每个电池系统不仅可以为自身子系统的用电设备供电,还可以为另一个子系统的部分用电设备供电。这种多层次的交叉冗余设计,使得单一燃料电池或单一电池的失效,不会导致任何一个用电设备失去动力,极大地提升了系统的容错能力与飞行安全性。
2.2
核心工作原理
本方案的核心工作原理是基于燃料电池与电池的互补特性,实现功率的动态合理分配与系统的多重冗余备份,具体可分为三个层面。
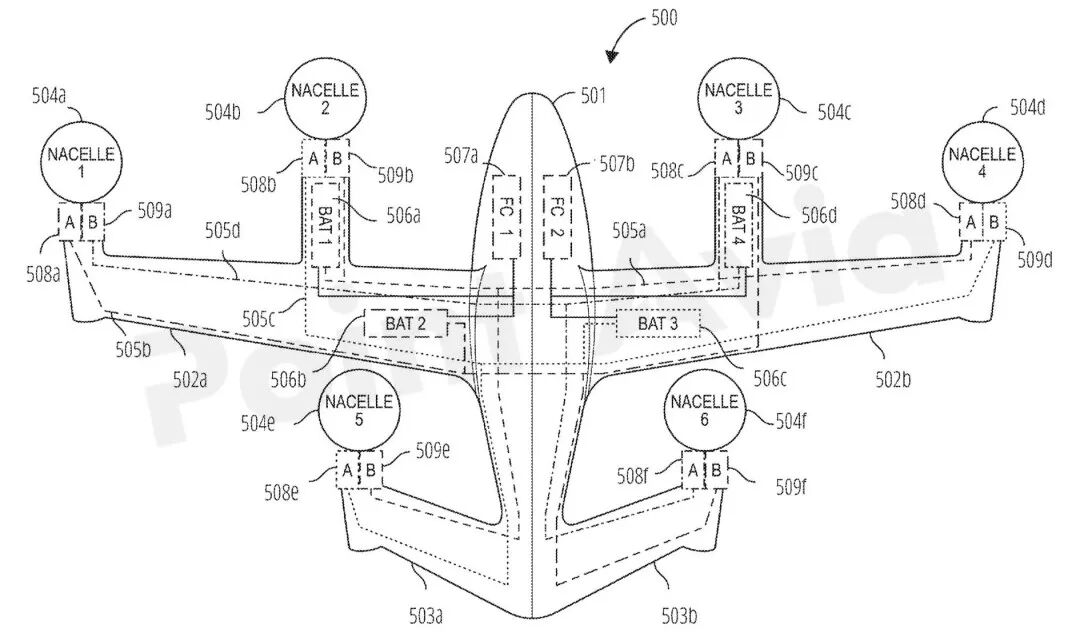
第一,稳态巡航工况下的功率分配。当飞行器处于水平巡航等稳态工况时,功率需求相对稳定且较低(如图5所示),此时由第一燃料电池(507a)与第二燃料电池(507b)共同为所有推进系统提供全部功率。同时,燃料电池利用多余的发电能力,为第一电池系统(506a、506c)与第二电池系统(506b、506d)充电,确保电池始终保持充足的电量,为后续的高功率工况做好准备。这种工作模式充分发挥了燃料电池能量密度高的优势,最大化了飞行器的续航里程。

图5 双电池+双燃料电池混合供电架构与动力分配线路
第二,高功率工况下的功率补充。当飞行器进入垂直起降、姿态机动等高功率工况时,功率需求会急剧上升且变化速率极快。此时,电池系统迅速介入,与燃料电池系统共同为推进系统提供功率。电池系统凭借其毫秒级的功率响应能力,能够瞬间输出巨大的电流,满足瞬时峰值功率需求。当功率需求下降至燃料电池的输出能力范围内时,电池系统自动退出供电,恢复到由燃料电池单独供电的模式,并由燃料电池继续为电池补充能量。
第三,故障工况下的交叉冗余供电。本方案的双系统交叉冗余设计,确保了在单一部件失效时,系统仍能正常运行(如图5所示)。例如,若第一燃料电池(507a)失效,第二燃料电池(507b)不仅可以为自身子系统的电池充电,还可以为第一子系统的电池充电;同时,第一电池系统(506a、506c)与第二电池系统(506b、506d)可以共同为所有推进系统供电,确保飞行器能够继续飞行并安全迫降。同理,若某一电池失效,对应的燃料电池与其他电池可以共同承担其供电任务,不会影响任何用电设备的正常运行。

核心系统组件详解
3.1
电池系统
电池系统是本方案混合电力架构的功率核心,主要负责提供瞬时高功率与功率峰值补充。如图2所示,电池系统(200)采用了电池包(202)→电池模块(204)→电芯(206)的三级模块化架构,这种架构便于生产制造、维护更换与故障隔离,同时提高了系统的整体可靠性。

图2 飞机电池系统结构,
含电池包、模组、电芯及冷却、电控组件
每个电池包(202)由多个电池模块(204)串联或并联组成,每个电池模块(204)又由多个高功率密度锂离子电芯(206)组成。电芯(206)是电池系统的基本能量与功率单元,采用专为高功率放电设计的化学体系,能够在10C以上的倍率下持续放电,满足eVTOL垂直起降阶段的功率需求。电池模块(204)集成了电芯电压监测、温度监测与单体均衡功能,确保所有电芯工作在安全的电压与温度范围内。电池包(202)则集成了多个电池模块,并配备了统一的电气接口、冷却接口与机械接口,实现与飞行器其他系统的快速连接。
电池系统配备了完善的配套系统,包括电池管理系统(BMS)、流体冷却系统(212)、防爆泄压系统与电力电子接口(214)。电池管理系统是电池系统的控制核心,负责实时监测每个电芯的电压、电流与温度,控制电池的充放电过程,实现电池的状态估算、均衡管理与安全保护。流体冷却系统(212)通过循环冷却液在电池包内部流动,带走电池充放电过程中产生的热量,确保电池工作在25-40℃的最佳温度范围内,提高电池的性能与使用寿命。防爆泄压系统通过爆破膜(210)在电池发生热失控时迅速释放内部压力,防止电池爆炸引发次生灾害。电力电子接口(214)负责调节电池的输出电压与电流,实现电池与推进系统、燃料电池系统之间的双向能量交换。
在布置方案上,电池系统采用了机翼内与吊舱内分布式布置的方式,优化了飞行器的重心分布与结构载荷。如图1所示,电池系统包括吊舱电池组(104)与机翼电池组(106)。吊舱电池组(104)布置在内侧吊舱(102)内,靠近推进系统,缩短了电力传输距离,降低了线路损耗与电磁干扰。机翼电池组(106)布置在机翼(112)的内部空腔中,利用机翼的闲置空间,不占用机身内部的有效载荷空间。同时,分布式布置使得电池的重量分散在飞行器的不同部位,优化了飞行器的重心分布,提高了飞行稳定性。此外,机翼的结构强度能够有效承受电池的重量,减轻了机身的结构载荷,降低了结构设计难度。

图1 eVTOL飞机整机布局,含电池、燃料电池与推进系统
3.2
燃料电池系统
燃料电池系统是本方案混合电力架构的能量核心,主要负责提供稳态巡航功率与为电池系统充电。如图3所示,燃料电池系统(300)的核心单元是燃料电池(314),每个燃料电池(314)由多个燃料电池堆(306)串联组成。燃料电池堆(306)采用质子交换膜(PEM)技术,通过氢气与氧气在质子交换膜两侧的电化学反应产生电能,其反应产物仅为水,具有零排放、低噪声的优点。

图3 飞机燃料电池系统组成,含电堆、循环、冷却与电控系统
燃料电池系统配备了复杂的辅助系统(Balance of Plant, BOP),包括氢气供给系统、空气供给系统与热管理系统,这些系统共同保证燃料电池堆在最佳工况下运行。
氢气供给系统负责为燃料电池堆提供纯净、压力稳定的氢气。如图4所示,氢气供给系统包括液氢储罐(402)、换热器(408)与氢气再循环系统(304)。液氢储罐(402)用于储存液态氢气,液态氢气的质量能量密度远高于气态氢气,能够显著提升飞行器的续航能力。换热器(408)用于将液态氢气加热气化为气态氢气,并调节氢气的温度与压力至燃料电池堆的工作要求。氢气再循环系统(304)将燃料电池堆阳极未反应的氢气重新送回入口,提高氢气的利用率,减少氢气的浪费。

图4 氢燃料电池系统原理图,
含液氢储罐、换热器、压缩机与电堆
空气供给系统负责为燃料电池堆提供压缩空气,空气中的氧气是燃料电池电化学反应的氧化剂。如图3与图4所示,空气供给系统包括压缩机(404)、中冷器(420)与阴极空气管理系统(312)。压缩机(404)将环境空气(418)压缩至燃料电池堆所需的压力,压缩过程会使空气温度显著升高。中冷器(420)用于冷却压缩后的空气,降低空气温度,提高燃料电池堆的反应效率。阴极空气管理系统(312)负责精确调节空气的流量、压力与湿度,确保燃料电池堆在不同负载下都能获得最佳的反应条件。
热管理系统负责维持燃料电池系统各部件的工作温度在合适的范围内,并实现余热的回收利用。如图4所示,热管理系统采用双冷却液回路设计,包括冷却回路(416)与升温回路(424)。冷却回路(416)用于冷却燃料电池堆(406)、压缩机(404)等发热部件,带走电化学反应与机械运动产生的热量。升温回路(424)利用燃料电池堆产生的余热加热液态氢气,促进液态氢气的气化,实现能量的梯级利用,提高系统的整体能量效率。
燃料电池系统的电力电子接口是DC/DC转换器(310),负责实现燃料电池电压与电池充电电压的匹配。燃料电池的输出电压会随着负载的变化而波动,而电池的充电电压需要保持稳定。DC/DC转换器(310)将燃料电池输出的波动电压转换为稳定的充电电压,例如将燃料电池输出的约60V电压转换为电池所需的48V充电电压,为电池系统充电。同时,DC/DC转换器还可以调节燃料电池的输出功率,实现燃料电池与电池之间的动态功率分配。
3.3
用电负载系统
本方案的用电负载系统包括主推进负载与辅助用电负载两部分,所有用电负载均采用双冗余设计,确保在单一故障情况下仍能正常运行。
主推进负载是用电负载系统的核心,由6台倾转旋翼推进系统(108)组成,每台推进系统均采用双绕组电机 + 双逆变器的冗余设计。如图5所示,6台推进系统分别安装在6个吊舱(504a-504f)内,每个吊舱内的电机配备两套独立的三相绕组,分别由第一组逆变器(508a-508f)与第二组逆变器(509a-509f)供电。第一组逆变器由第一电池系统(506a、506c)与第一燃料电池(507a)供电,第二组逆变器由第二电池系统(506b、506d)与第二燃料电池(507b)供电。这种双冗余设计确保了即使其中一套逆变器或一套供电系统失效,电机仍能通过另一套绕组与另一套供电系统继续运行,保证推进系统的动力输出不中断。
辅助用电负载包括旋翼倾转机构、桨距调节机构、飞控舵机与航电系统,这些负载虽然功率较小,但对飞行安全至关重要。旋翼倾转机构用于将旋翼从垂直推力状态转换为水平推力状态,实现飞行器从垂直起降模式到巡航模式的转换。桨距调节机构用于实时调节旋翼的桨距,精确控制旋翼的升力与推力。飞控舵机用于控制飞行器的各控制面,实现飞行器的姿态控制与航向控制。航电系统包括飞行计算机、导航系统、通信系统等,负责飞行器的自主飞行控制与任务管理。
所有辅助用电负载均由双系统交叉供电,即每个辅助用电设备同时连接到第一供电系统与第二供电系统。当其中一个供电系统失效时,另一个供电系统能够立即接管,为辅助用电设备提供不间断的电力供应。例如,旋翼倾转机构同时由第一电池(506a)与第二电池(506b)供电,即使第一电池失效,第二电池仍能为旋翼倾转机构提供足够的电力,确保旋翼能够顺利完成倾转动作。这种交叉冗余设计进一步提升了辅助用电系统的可靠性,为飞行器的飞行安全提供了全方位的保障。

方案核心优势
本方案提出的双独立冗余混合电力架构,相较于现有技术具有四大核心优势,全面解决了eVTOL动力系统的痛点问题。
第一,显著提升飞行器航程。通过采用高能量密度的氢燃料电池作为主要能量源,大幅增加了系统的总能量储备。同时,由于电池仅需提供瞬时峰值功率,无需储存大量巡航能量,因此可以采用更小、更轻的电池组,进一步减轻了飞行器的空重,提升了有效载荷与航程。
第二,优化系统动态响应特性。电池系统承担了所有的瞬时峰值功率需求,彻底解决了纯燃料电池动力系统动态响应慢的问题。同时,燃料电池系统可以始终工作在最佳效率点,避免了频繁的功率波动,延长了燃料电池堆的使用寿命。
第三,极大增强系统可靠性。双独立冗余设计确保了即使一个子系统完全失效,另一个子系统仍能独立完成飞行任务。交叉冗余设计进一步消除了单一燃料电池或单一电池的失效影响,实现了 “无单点故障” 的动力系统设计,为载人eVTOL的飞行安全提供了坚实保障。
第四,降低燃料电池峰值功率需求。由于电池系统承担了所有的峰值功率,燃料电池系统仅需提供稳态巡航功率,因此可以采用功率等级更低、体积更小、重量更轻的燃料电池堆。这不仅降低了系统的成本与重量,还提高了燃料电池系统的运行效率与可靠性。
如需本报告原文
请联系要点纵航工作人员领取!

要点纵航工作人员微信

来源:公开信息,要点纵航整理
提示:原创文章未经允许,请勿转载
免责申明:本文中所含内容乃一般性信息,包含的价格及观点仅供贵方参考,要点纵航不对任何方因使用本文内容而导致的任何损失承担责任。


要点纵航专注于低空经济和eVTOL技术的发展,识别并研究行业的关键障碍及相关需求。我们通过提供数据、分析和见解,与行业参与者共同致力于实现安全、可持续、低成本且可及的变革性城市空中出行方式。一公里的地面交通只能带您走一公里,而一公里的空中飞行可以带您到任何地方!
如您想获取更多关于eVTOL技术的最新消息,请添加相关人员或通过电子邮件,把您的要求发送给我们。

18958230600

alfred.shen@cycolpower.com

你们点点“分享”,给我充点儿电吧~